Resorte de troquel - ISO – Carga Ligera

Info

min max
min max
min max

Basta con hacer clic y deslizar los botones de arriba para especificar los criterios de búsqueda.

MAIN image
Referencia Auto cad H (mm) R (mm) L0 (mm) P/f (N/mm) L1 (N) (N) L1 (D) (mm) L2 (N) (N) L2 (D) (mm) L3 (N) (N) L3 (D) (mm) L4 (N) (N) L4 (D) (mm)     Cantidad / Precio
R203104 CAD 10.0 5.0 25 10.0 62.5 6.3 75.0 7.5 87.5 8.8 103.0 10.3
R203105 CAD 10.0 5.0 32 8.5 68.0 8.0 81.6 9.6 95.2 11.2 111.4 13.1
R203106 CAD 10.0 5.0 38 6.8 64.6 9.5 77.5 11.4 90.4 13.3 106.1 15.6
R203107 CAD 10.0 5.0 44 6.0 66.0 11.0 79.2 13.2 92.4 15.4 108.0 18.0
R203108 CAD 10.0 5.0 51 5.0 63.8 12.8 76.5 15.3 89.3 17.9 104.5 20.9
R203110 CAD 10.0 5.0 64 4.3 68.8 16.0 82.6 19.2 96.3 22.4 111.8 26.0
R203112 CAD 10.0 5.0 76 3.2 60.8 19.0 73.0 22.8 85.1 26.6 99.8 31.2
R203148 CAD 10.0 5.0 305 1.1 83.9 76.3 100.7 91.5 117.4 106.8 137.5 125.0
R203204 CAD 12.5 6.3 25 17.9 111.9 6.3 134.3 7.5 156.6 8.8 184.4 10.3
R203205 CAD 12.5 6.3 32 16.4 131.2 8.0 157.4 9.6 183.7 11.2 214.8 13.1
R203206 CAD 12.5 6.3 38 13.6 129.2 9.5 155.0 11.4 180.9 13.3 212.2 15.6
R203207 CAD 12.5 6.3 44 12.1 133.1 11.0 159.7 13.2 186.3 15.4 217.8 18.0
R203208 CAD 12.5 6.3 51 11.4 145.4 12.8 174.4 15.3 203.5 17.9 238.3 20.9
R203210 CAD 12.5 6.3 64 9.3 148.8 16.0 178.6 19.2 208.3 22.4 244.6 26.3
R203212 CAD 12.5 6.3 76 7.1 134.9 19.0 161.9 22.8 188.9 26.6 221.5 31.2
R203214 CAD 12.5 6.3 89 5.4 120.2 22.3 144.2 26.7 168.2 31.2 197.1 36.5
R203248 CAD 12.5 6.3 305 1.4 106.8 76.3 128.1 91.5 149.5 106.8 175.0 125.0
R203304 CAD 16.0 8.0 25 23.4 146.3 6.3 175.5 7.5 204.8 8.8 241.0 10.3
R203305 CAD 16.0 8.0 32 22.9 183.2 8.0 219.8 9.6 256.5 11.2 300.0 13.1
R203306 CAD 16.0 8.0 38 19.3 183.4 9.5 220.0 11.4 256.7 13.3 301.1 15.6
Mostrar artículos por página

RESORTES  TROQUEL NORMA ISO

Los resortes de troquel de Barnes Group / Raymond se fabrican a partir de un hilo metálico de sección transversal desarrollado para garantizar un equilibrio óptimo entre la capacidad de carga y su duración máxima.

Nuestro proceso de producción se realiza mediante cuidadosos controles y con un equipo especial desarrollado por el equipo de investigación de Barnes Group.

Todas las etapas de la fabricación se efectúan bajo un estricto control de calidad, inspección y exámenes del  producto para así garantizar una larga vida útil de cada uno de los muelles de troquel.

Detalles técnicos disponibles para clientes.

Resortes fabricados de acuerdo con la norma ISO 10243.

Verde = Carga Ligera

Azul = Carga Media

Rojo = Carga Pesado

Amarillo = Carga Extra Pesado

 

Caracteristicas

Materiales de calidad superior y tipo de hilo

• Todos los resortes de troquel Raymond están fabricados a partir de aceros al cromo aleados de alta ductilidad.

• Hilo metálico de sección transversal óptimo.

• Los extremos del resortes se rectifican para dar una sección cuadrada.

• Disponibles otros materiales para condiciones y ambientes especiales.

 

Consistencia Dimensional

• Las exigencias dimensionales se mantienen constantes de una fabricación a otra.

 

Vida útil más larga

• Diseñados para soportar mejor los impactos de la carga.

• Concebidos para resistir las continuas deflexiones.

• Granallado para prolongar la vida útil del muelle.

• Menor período de paralización del trabajo.

 

Deflexión excelente

• Los resortes proporcionan una mayor carrera para alcanzar la altura sólida.

• Mayor carrera en cada resorte.

 

INFORMACIÓN TÉCNICA ADICIONAL 

TERMINOLGÍA PROPIA DE LOS RESORTES DE TROQUEL

DIÁMETRO DEL ORIFICIO Permite identificar el diámetro exterior del resorte. Los resortes de troquel Raymond están disponibles en 8 tamaños de orificio diferentes que coinciden con los tamaños estándar de las brocas. Cada resorte está fabricado para encajar perfectamente en el orificio, por lo que el diámetro exterior del resorte es menor que el del orificio.

 

DIÁMETRO DE LA VARILLA Identificación nominal del diámetro interior del resorte de troquel. Los resortes de troquel Raymond están disponibles en 8 tamaños de orificio diferentes que coinciden con los pernos eyectores estándares. Cada resorte está fabricado para que la varilla encaje perfectamente, por lo que el diámetro interior de los muelles es mayor que el de la varilla.

 

LONGITUD LIBRE Longitud del resorte de troquel antes de ser sometido a ninguna operación de fuerza o carga.

 

CARGA PREVIA La distancia en la que se reduce la longitud libre del resorte por la presión de una herramienta ensamblada.

 

CARRERA DE TRABAJO La distancia sustraída de la longitud del resorte tras aplicar la carga.

 

DEFLEXIÓN Variación de la longitud del resorte tras la aplicación de la carga de trabajo. La longitud comprimida se obtiene sustrayendo la compresión inicial y la carrera de trabajo a la longitud libre.

 

ALTURA SÓLIDA Longitud del resorte una vez comprimido por una carga suficiente que permita que las espiras estén en contacto entre sí.

 

CARGA Fuerza que se obtiene al comprimir el muelle. La carga se expresa en newton, que corresponden a la carga obtenida por el muelle a una deflexión específica. Se genera la carga y aumenta la tensión.

 

Seleccionar un resorte de troquel

Una regla general que hay que tener en cuenta a la hora de elegir un resorte es la de utilizar siempre tantos resortes como vaya a albergar el troquel que producirá la carga requerida con la menor cantidad de deflexión. Esto aumentará la vida útil del resorte, reducirá las posibilidades de fallo del resorte y el tiempo perdido que resulta de esto, así como las pérdidas productivas y los costos elevados de mantenimiento.

El resortes de troquel supone un porcentaje muy pequeño del coste del troquel. Ahorrar algo de dinero en los resortes resulta una elección equivocada que puede traer a largo plazo importantes costos en tiempo perdido y mano de obra.

Cuanto más rápido trabaja un resortes, más atención hay que prestar a sus límites de fatiga. En ciclos lentos, es posible obtener buenos resultados con los resortes trabajando cerca de la deflexión máxima. A medida que aumenta la velocidad, la vida útil del resorte disminuye.

Se pueden seleccionar los resortes para desmoldadoras, prensas y otros componentes de troquel de las páginas siguientes. Cuando se selecciona un resorte de troquel hay que determinar el tipo de resultados requeridos de los resortes: recorrido corto, normal o largo. Para aplicaciones de recorridos cortos o normales, se deben utilizar las deflexiones señaladas en la columna de larga vida. Para aplicaciones de recorrido largo, se deben utilizar las de la columna de vida óptima. Las deflexiones recomendadas para cada resortes basadas en los resultados requeridos se demostrado en las páginas siguientes.

Otro punto que se debe tener en cuenta a la hora de seleccionar un resorte es el de considerar el número de ciclos que el troquel requiere que realice el resorte. Hay que seleccionar los resortes en función de la labor que vayan a desempeñar para que funcionen de acuerdo con la carrera requerida. Hay que calcular el número de resortes necesarios dividiendo la carga total suministrada por un resortes entre la carga total requerida. Redondear el número resultante de resortes hacia el mayor para obtener los resultados requeridos.

 

PROBLEMAS Y SOLUCIONES

La mayoría de los problemas que aparecen en la utilización de los resortes de troquel vienen provocados por la mala aplicación de los mismos.

 

Guía del muelle

Los resortes de troquel Raymond se fabrican con los extremos de sección transversal cuadrada, por lo que se sujetan sobre su propia base y se comprimen aún por debajo de su carga. Existe una relación positiva entre el diámetro exterior del resorte y  la longitud total, que es la que determina si el resorte corre el riesgo de deformarse o no con una carga inferior.

 

FIG. A

Como norma general, si la longitud libre es cuatro veces mayor que el diámetro medio del resorte, podría producirse la deformación bajo compresión. Para solucionarlo basta con guiarlo por una cavidad o una varilla o ambas opciones. Se recomienda siempre suministrar una guía para cualquier resorte de troquel.

La figura A aporta información acerca de si un resorte específico con extremos de sección transversal cuadrada está sujeto a posibles deformaciones. La curva indica que un resorte con los extremos de sección transversal cuadrada que se comprime por ambos lados puede sufrir deformaciones si los valores caen por debajo o a la derecha de la curva.

 

Temperatura

El calor es un problema que se ignora frecuentemente en el fallo del resorte o en la pérdida de carga. La temperatura máxima que puede soportar el acero al cromo de aleación es de 230°C. La fi gura B muestra el porcentaje de pérdida de carga atribuido a la combinación del calor y la tensión. Llama la atención el calor generado por el troquel en marcha que puede ser muy significativo en numerosas aplicaciones. El calor que absorbe la herramienta puede ser transferido a los resortes y de esta forma producirse una pérdida de carga y el fallo prematuro del resorte.

 

Corrosión

Con frecuencia, los fallos del resorte se deben a elementos corrosivos. La corrosión reduce considerablemente la vida útil del resorte. Tenga cuidado con los productos que puedan modificar el resorte, tales como el óxido, los lubricantes, detergentes, productos químicos, etc. Los resortes limpios y protegidos proporcionan mejores resultados.

 

Pérdida de Carga / Temperatura

FIG. B


Arriba ↑

Leyenda

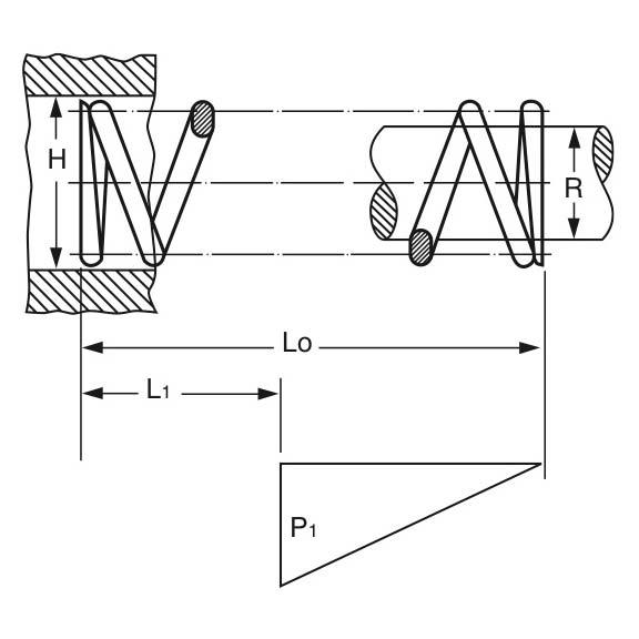
H = Diámetro agujero (mm)

R = Diámetro eje (mm)

Lo = Altura libre (mm)

P/f = Ratio de fuerza (N/mm)

L1 = Deflexión operativa óptima (mm)

L2 = Deflexión operativa media (mm)

L3 = Deflexión operativa máxima (mm)

L4 = Deflexión máxima (mm)

N = Fuerza (N)

D = Deflexión (mm)


Producto añadido al carro de compra

Por favor vaya al carro de compra o vuelva para añadir más productos.


Volver al carro de compra